![]() |
|
| Appunti tecniche |
|
| Visite: 5253 | Gradito: |
Leggi anche appunti:I trasformatoriI TRASFORMATORI Il trasformatore viene definito come una macchina statica Le mareeLe maree Sono oscillazioni periodiche del livello della superficie dell'oceano Macchine elettriche rotantiMACCHINE ELETTRICHE ROTANTI Le macchine elettriche rotanti si suddividono |
![]() |
![]() |
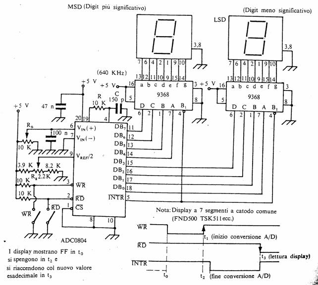
ADC 0804
Convertitore A/D con visualizzazione esadecimale su due display

ADC0804; varie resistenze e condensatori; 2 integrati 9368; 2 display a 7 segmenti a catodo comune; alimentatore +5V; multimetro digitale; oscilloscopio; fili di collegamento, basetta millefiori.
Procedimento
Dopo aver montato correttamente il circuito come mostra in figura, si è misurato con il multimetro il potenziale dell'ingresso Vref/2 e lo si è portato al valore 2,5V agendo sul potenziometro R9.
|
Vi (V) |
n (esad.) |
n (dec.) |
|
|
|
|
|
|
|
|
|
|
|
|
|
|
|
|
|
|
|
|
|
|
|
|
|
|
|
|
|
|
AA |
|
|
|
E0 |
|
|
|
D7 |
|
|
|
F8 |
|
Si è collegato con un ponticello l'uscita INTR all'ingresso WR in modo che il convertitore "triggera se stesso". È stato comunque necessario applicare manualmente il primo impulso chiudendo e poi riaprendo l'interruttore WR. Si è inoltre tenuto il convertitore abilitato alla letture con l'interruttore RD chiuso. A questo punto agendo sul potenziometro R6 si è notato variare le due cifre sui display. Si è compilato infine la tabella qui a fianco scrivendo il numero in esadecimale visualizzato sui display corrispondente al valore di tensione in ingresso e il corrispondente valore in decimale
È un convertitore analogico digitale ad 8 bit ad approssimazioni successive in tecnologia CMOS che si presenta in un contenitore DIP a 20 pin e funziona con una sola tensione di alimentazione Vcc = +5V.
Possiede due ingressi analogici Vin (+) e Vin (-) che comandano un
differenziale interno a guadagno unitario sicché il dato digitale di uscita
risulta proporzionale alla differenza Vin (+) - Vin (-).
Il circuito di clock è interno ma la frequenza fCK dipende dalle rete esterna R-C che si inserisce. È possibile applicare un clock esterno ma, in tal caso, si evita l'uso della rete R-C.
Se al piedino Vref/2 si applica una tensione costante pari a 2,5V l'intervallo dei valori della tensione di ingresso (span) va da 0 a 5 V.
Si noti inoltre che Vref/2 = 2,5V rappresenta il valore della tensione di ingresso in grado di porre ad 1 il bit più significativo (MSB) DB7.
Il convertitore presenta, inoltre, le seguenti linee di controllo:
![]()
![]()
CS: Chip select (attiva bassa). Se CS = 1 non
è possibile avviare alcuna conversione ed inoltre le uscite digitali, essendo
tri-state, si pongono nello stato di alta impedenza.
WR: Write (attiva bassa). Ponendo CS = WR = 0 si inizia una conversione A-D e la linea INTR se bassa, si porta al livello alto.
![]()
![]()
RD: Read (attiva bassa). Ponendo CS = RD = 0 si rende disponibile in
uscita il byte convertito purché la precedente conversione ha avuto termine.
Anche in questo caso INTR, se bassa, si porta al livello alto.
![]()
![]()
INTR: Interrupt (attiva bassa). È una linea di uscita che si trova
nello stato alto durante la conversione e compie la transizione negativa quando
tale conversione ha termine. Questa linea ritorna al livello alto quando si
attiva una successiva conversione (CS = WR = 0) o quando si predispone la
lettura (CS = RD = 0).
Tensione di alimentazione : Vcc = +5V
Tensione di ingresso analogica: 0 < Vi < +5V
Tempo di conversione: tc = 100us
Frequenza di clock consigliata: fCK = 840KHz (R = 10KW, C = 150pF)
Start conversion: CS = WR = 0
End of conversion: transizione negativa di INTR
Lettura: CS = RD = 0 (il dato digitale è disponibile non prima di 8 periodi di clock dalla fine della conversione
I valori di tensione degli ingressi di controllo digitali ( CS, RD, WR) sono TTL standard compatibili.
Convertitore
A/D ad approssimazioni successive a 8 bit

Dopo l'applicazione del comando di conversione (SOC: start of
conversion), che azzera le uscite e inizializza il sistema, il registro ad
approssimazioni successive (SAR: successive approssimation register) si trova
nello stato 10000000. questo dato viene presentato all'ingresso del DAC che
fornisce il primo livello analogico, pari alla metà della tensione di fondo scala
del convertitore, da confrontare con il segnale Va. Se Va > Va l'uscita del
comparatore è alta e il bit più significativo del SAR, che è anche il MSB della
parola di uscita, rimane alto. Se viceversa Va < Va , l'uscita del
comparatore è bassa, il bit più significativo del SAR (e quindi anche del dato
d'uscita) si porta a 0. a questo punto, in sincronismo con il clock, viene
portato ad 1 il secondo bit più significativo del SAR, cosicché il dato
presente sugli ingressi del DAC sarà 11000000 oppure 01000000 a seconda del
risultato del confronto precedente. Il secondo confronto porta a 0 o mantiene
ad 1 il secondo bit del SAR e del buffer d'uscita, a seconda che Va
risulti minore o maggiore di Va . Con il procedimento analogo
vengono effettuati i confronti per gli altri bit.
Alla fine della conversione, ovvero dopo otto confronti successivi, il dato
digitale contenuto nel buffer d'uscita è pronto e valido; il blocco di
temporizzazione segnala la fine della conversione ( EOC: end of conversion) e
l'uscita può essere letta.
Il convertitore ad approssimazioni successive si è dimostrato un convertitore abbastanza veloce in quanto impiega solo n colpi di clock per convertire un segnale analogico in digitale, dove n è dato dal numero di bit del convertitore.
![]() |
| Appunti su: circuito integrato ADC0804, adc0804, |
|
| Appunti costruzione | ![]() |
| Tesine Gestione | ![]() |
| Lezioni Ingegneria tecnico | ![]() |