![]() |
|
| Appunti scientifiche |
|
| Visite: 2184 | Gradito: |
Leggi anche appunti:Nomenclatura composti inorganiciNomenclatura composti inorganici Tabella con i primi 100 elementi chimici (Z EteriEteri Come si è già visto [147] sono composti di formula generale R - O Il pH di Acidi e Basi fortiIl pH di Acidi e Basi forti Si definiscono acidi forti quegli acidi che in soluzione |
![]() |
![]() |
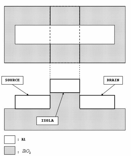
Il Processo Dry
Il
primo processo di realizzazione della doppia giunzione tunnel SECO che è stato
pensato sfrutta l'attacco ionico in plasma di Ar dell'
, mascherato dall'Al.
La
strategia di realizzazione del dispositivo è analoga alla tecnica additiva
proposta da Altmayer (Fig. 2 del par. I.3): dopo aver definito un gradino nel
substrato di
con l'attacco ionico,
si evapora uno strato di Al di spessore opportuno, in modo tale che questo si
interrompa sugli spigoli del gradino (Fig. 1).

Fig. 1: Rappresentazione schematica della doppia giunzione tunnel SECO realizzata con il processo dry: vista in sezione ed in pianta.
Le giunzioni tunnel
realizzate saranno quindi:
.
L'adozione di tale strategia è stata imposta dalla necessità di definire gradini della minore dimensione: infatti, se invece di produrre un gradino si effettuasse uno scavo della stessa larghezza, a causa delle sue ridotte dimensioni il fenomeno della rideposizione renderebbe le sue pareti inclinate al punto che sarebbe irrealizzabile l'interruzione del film di Al da evaporare al passo successivo (Fig. 2).

Fig. 2: Sezione trasversa reale di uno scavo e di un gradino della
stessa larghezza, definiti nel substrato di
con l'attacco ionico
in plasma.
In questo lavoro di tesi non è stato messo a punto il processo di realizzazione della giunzione tunnel doppia, quello molto simile per la fabbricazione di un dispositivo precursore di test, che ha avuto proprio lo scopo di stimare la fattibilità del processo per la realizzazione della doppia giunzione tunnel.
Realizzazione del dispositivo di test
Come anticipato nell'introduzione, la messa a punto del processo per la realizzazione del dispositivo precursore ha permesso di individuare i principali punti critici di quello per la fabbricazione della giunzione tunnel doppia, a cui è molto simile, e di stimarne dunque la fattibilità.
Tale
dispositivo consiste in una singola giunzione tunnel SECO
, di dimensioni molto maggiori di quelle necessarie perchè si
realizzi il Coulomb Blockade del tunneling.
I passi di processo per la realizzazione del dispositivo di test sono i seguenti:
Preparazione dei campioni
Un
wafer di Si Czochralski di tipo n con orientazione
, spessore 500-550
e resistività 0.5-1
veine pulito con il LAVAGGIO IN ULTRASUONI, sottoposto ad OSSIDAZIONE
TERMICA DRY o WET, ed infine tagliato per ricavarne campioni di dimensioni
opportune.
Realizzazione dei markers
A questo punto sul campione vengono realizzate delle strutture che serviranno all'allineamento dei passi di litografia: i markers.
Il campione subisce quindi il primo passo di litografia EBL: dopo la stesura del BILAYER 6%, si scrive su di esso ad ingrandimento 40X la seguente geometria:

Fig. 1: Maschera 1: Markers.
Dopo lo sviluppo, si procede all'EVAPORAZIONE
TERMICA successiva di tre strati metallici: 40nm di Al (
), su 40 nm di Au (
), su 40 nm di Al (
), come in Fig. 2:

Fig. 2: Sezione trasversa di un marker.
Dal momento che il
contrasto
è maggiore di quello
, per una maggiore affidabilità del processo di allineamento
è importante che i markers siano ricoperti di Au. L'Au ha però una scarsa
adesione sull'
: lo strato inferiore di Al ha quindi la funzione di saldare
lo strato di Au sul substrato. Lo strato superiore di Al serve a proteggere lo
strato di Au durante l'attacco ionico in plasma.
Definizione della Mesa nell'![]()
Sul campione viene steso il BILAYER 6%: dopo aver compiuto l'allineamento sui markers, si scrive a ingrandimento 40X la seguente geometria:

Fig. 3 Maschera 2: Mesa.
Dopo lo sviluppo, si procede all' all'EVAPORAZIONE
TERMICA di 20nm di Al a
. Il successivo LIFT-OFF definirà la maschera per il
substrato di
all'attacco ionico.
L'attacco ionico in plasma, a 15sccm
e 50W è condotto per 20min, il tempo
minimo di attacco: si minimizza in questo modo il danneggiamento della superficie
di
.
L'inclinazione delle pareti laterali della mesa è un fattore estremamente critico: se questa è eccessiva, il film di Al successivamente evaporato non si interromperà sullo spigolo come dovrebbe fare in condizioni ideali con un gradino perfettamente verticale.
Attaccando per 20', la maschera di Al sarà completamente rimossa: il
stimato per l'attacco
ionico con questi parametri è infatti di
.
Lo spessore medio del
gradino ottenuto è
.
Si noti che questo attacco, rimuovendo completamente l'Al della maschera, permette di evitare il passo di attacco umido dell'Al in acido ortofosforico, che non può essere effettuato perché causerebbe rimozione o comunque il grave danneggiamento dei markers.
Considerando
ancora pari a
, si ottiene per lo spessore di Al attaccato (per la III.2
del par. III.4.2):
![]()
che è circa lo spessore di Al che è necessario rimuovere dai markers per poter liberare lo strato di Au.



Fig. 4: Sezione trasversa del campione a vari istanti dell'attacco ionico.
I successivi passi
di litografia saranno quindi allineati su markers rivestiti di Au, il che rende
la procedura di allineamento molto più affidabile che se fossero semplicemente
di Al: il contrasto tra la superficie di
bombardata e l'Al non
è infatti sufficiente a garantire il successo della procedura di riconoscimento
del marker.
Fabbricazione della giunzione tunnel
Sul campione viene steso il BILAYER 6%: dopo aver compiuto l'allineamento sui markers, si scrive a ingrandimento 40X la seguente geometria:

Fig. 5: Maschera 3: film di Al di spessore calibrato.
Dopo lo sviluppo, si procede all' all'EVAPORAZIONE TERMICA di Al a
. Perché il film si interrompa effettivamente sullo spigolo
della mesa scavato nell'
, lo spessore evaporato deve essere calibrato sullo spessore
del gradino, tenendo conto dell'errore sistematico da cui è affetta la misura
degli spessori evaporati fornita dalla microbilancia dell'evaporatore termico:
.
Lo spessore nominale da evaporare si ottiene dunque da:
dove
è lo spessore del
gradino e
è lo spessore atteso della
barriera tunnel che separa l'isola dagli elettrodi (Fig. 6).

Fig. 6: Rappresentazione della relazione tra gli spessori.
Per ottenere una
barriera tunnel dello spessore di
si è scelto quindi di
evaporare
di Al.
Dalla , si ottiene inoltre per
una deviazione
standard:
![]()
che è stata
ottenuta facendo l'ipotesi che
e
siano variabili
aleatorie statisticamente indipendenti (il che è sensato perchè prodotte da
meccanismi completamente diversi).
È stato stimato lo
spessore effettivo di
con il fitting della
funzione di Simmons sulla caratteristica I-V del dispositivo (par. II.1.2), ma
senza ottenere risultati significativi.

Fig. 7: Rottura del film di Al sullo spigolo della
mesa scavata nell'
: vista in piante ed in sezione (Dev-III).
Il lift-off del film di Al si è dimostrato un passo estremamente critico: se infatti in alcuni punti il film evaporato non è discontinuo, esso si realizza solo in parte, con la conseguenza che la sezione trasversa della pista evaporata presenta delle "creste" laterali anche molto alte.
Se il film di Al presenta tali creste proprio all'altezza dello spigolo della mesa, cioè nel punto dove dovrebbe spezzarsi, esse cortocircuitano l'isola con gli elettrodi e sostengono il passaggio di corrente, che non avviene quindi per effetto tunnel come ci si aspetta per il buon funzionamento del dispositivo: la caratteristica del dispositivo sarà in questo caso quella di un resistore (fig. 8).

Fig. 8: Fallimento del dispositivo a causa della scarsa risoluzione del processo di litografia impiegato: l'immagine fa riferimento ad un dispositivo di test (Dev-I) che sarà descritto nel prossimo paragrafo.
Evaporazione dei pads
Sul campione viene steso il BILAYER 6%: dopo aver compiuto l'allineamento sui markers, si scrive a ingrandimento 40X la seguente geometria:

Fig. 9: Maschera 4: pads.
Segue lo sviluppo, l'EVAPORAZIONE TERMICA di 30nm di Au (
), su 60nm di Al
(
), ed il LIFT-OFF
In Fig. 10 sono mostrate insieme le quattro maschere impiegate nel processo:

Fig. 10: Le quattro maschere del processo per la realizzazione del dispositivo precursore.

Fig. 11: Il dispositivo precursore (Dev-III).
Caratterizzazione della Giunzione Tunnel
Il
metodo di caratterizzazione della giunzione tunnel adottato in questo lavoro di
tesi, si basa sull'assunzione che il passaggio di corrente attraverso la giunzione
tunnel SECO
del dispositivo di
test sia descrivibile con il modello di Simmons (par. I del Cap. I).
La barriera tra gli elettrodi viene assunta di forma rettangolare: la relazione tra densità di corrente e tensione ad una generica temperatura per una barriera rettangolare viene di nuovo riportata per maggiore chiarezza:
con:
Dove s è lo spessore della barriera, e
è la sua altezza, il
cui valore in elettronvolts è pari alla differenza tra la funzione lavoro
dell'Al,
, e l'affinità elettronica dell'
,
.
Si ha pertanto:
![]()

Fig. 1: Diagramma a bande della giunzione
, supposta rettangolare.
Assumendo i seguenti valori per le costanti fondamentali:
![]()
![]()
![]()
![]()
e tenendo conto delle , si può riscrivere la in modo più esplicito:
Per passare dalla , che rappresenta la densità superficiale di corrente attraverso la giunzione, all'espressione della corrente, si deve moltiplicarla per l'area della giunzione tunnel:
Dove
, con W e H le due dimensioni della sezione.

Fig 2: Giunzione tunnel a facce piane parallele.
Nel caso della giunzione tunnel del
dispositivo, il passaggio di corrente per effetto tunnel si realizza tra lo
spigolo superiore dell'elettrodo sul substrato, e quello inferiore
dell'elettrodo sul gradino: assumere che il passaggio di corrente attraverso la
giunzione tunnel SECO
sia descrivibile con
il modello di Simmons significa considerarla equivalente, ai fini della
conduzione, ad una giunzione a facce piane parallele (Fig. 2). La W e la s di tale giunzione equivalente sono gli stessi della giunzione SECO,
la H invece è tendente a zero.
Noto W, si possono in teoria ricavare H ed s mediante un fitting della sulla caratteristica I-V del dispositivo di test.
Effettuato però il fitting Levemberg-Marquardt della funzione:
sulla caratteristica
I-V del dispositivo di test Dev-III (W=700nm), misurata alla temperatura
, si sono ottenuti i seguenti valori per H ed s:


Fig. 3: Caratteristica I-V del dispositivo e la curva che fitta i dati.
Sulla base di quanto premesso, il valore di H è stato giudicato sensato, ma s è inferiore di circa un ordine di grandezza allo spessore atteso, dell'ordine del nm: il metodo di caratterizzazione della giunzione tunnel che si fonda sul fitting della è stato dunque considerato inaffidabile.
La conclusione è
comunque che, data la vicinanza tra la caratteristica I-V misurata e la curva
che interpola i dati, il dispositivo di test conduca per effetto tunnel
attraverso la giunzione tunnel SECO
.
Conclusioni
Le misure effettuate sul dispositivo di test hanno dunque confermato la fattibilità del processo per la realizzazione della doppia giunzione tunnel che sfrutta l'attacco ionico in plasma di Ar: le prove sono state però sospese in attesa di valutare l'opportunità di inserire nella sequenza di processo un passo di definizione della maschera di Al mediante un attacco a fascio ionico focalizzato (Focused Ion Beam:FIB).
L'attuale
metodo di fabbricazione di tale maschera, il lift-off presenta infatti in
difetto che la sezione trasversa della maschera non è rettangolare come si
desidererebbe, ma arrotondata agli spigoli: durante l'attacco ionico in plasma
il bordo di questa sfaccettatura si propaga dallo spigolo della maschera, fino
al substrato, che sarà quindi a sua volta sfaccettato (Par. I del Cap II: faceting). Il risultato è che le pareti
laterali del gradino definito nell'
non sono perfettamente verticali, come invece è importante
che siano per assicurare l'interruzione del film di Al successivamente
evaporato.

Fig. 1: Sezione trasversa di un gradino scavato con un attacco a 15sccm; 50W per 75minuti (R-test_II).
In Fig. 1 è mostrata la sezione trasversa di un gradino scavato nell'ossido dello spessore di circa 70nm, che presenta un'accentuata inclinazione delle pareti laterali: essa è imputabile sia al faceting, che alla rideposizione.
![]() |
| Appunti su: |
|
| Appunti Biologia | ![]() |
| Tesine Ingegneria tecnico | ![]() |
| Lezioni Geografia | ![]() |