![]() |
|
| Appunti informatica |
|
| Visite: 2215 | Gradito: |
Leggi anche appunti:Informatica - gli archiviInformatica - gli archivi ARCHIVI DI DATI Per poter gestire Device DriverDevice Driver Un Driver è un'unità di programma (nello specifico un Le limitazioni - DVDLe limitazioni - DVD Gli unici limiti imposti dal sistema sono quelli definiti |
![]() |
![]() |
Nella storia della tecnologia
accade qualcosa di nuovo e fondamentale, nasce qualcosa di irrefrenabile
e irreversibile (pensiamo all'automobile, al televisore.): questo è stato
l'impatto dell'invenzione del microprocessore.
Intorno alla fine degli anni '60 la crescente miniaturizzazione dei componenti
elettronici arrivò al livello LSI (Large Scale Integration), cioè decine
o centinaia di migliaia di componenti su un singolo chip. Molti ingegneri si
chiesero che tipo di funzione potesse richiedere così tanti componenti, ma la
risposta era evidente: memorie a
circuiti integrati e CPU su
singolo chip per piccoli computer, visto che le CPU richiedevano allora una o
più schede piene di componenti SSI e MSI.
NTEL

Esso era in grado, una volta collegato al suo chipset (un chip di memoria ROM, un chip di RAM e un chip d'interfacciamento ingresso/uscita) di simulare il comportamento di un vero computer (per le dimensioni fu definito 'microcomputer'), e non solo di pilotare una calcolatrice come era il progetto iniziale. La metodologia 'random logic design' in silicon gate, creata da Faggin per sviluppare il 4004, fu poi usata per progettare le prime generazioni di microprocessori della Intel. ll 4004 è composto da 2,300 transistors che occupano un'area totale pari a 12mm2, questo microprocessore riesce a compiere 60.000 operazioni al secondo. Le istruzioni totali supportate sono 46. Il 4004 contiene 16 registri a 4-bit per uso generale.

Il primo microprocessore al mondo che integrava in un singolo chip una potenza di calcolo superiore a quella dello storico ENIAC. In seguito Faggin si occupò dello sviluppo di tutti i microprocessori dei primi cinque anni della storia della Intel. Usando la metodologia da lui creata per il progetto del 4004 venne realizzato l'8008, il primo microprocessore a 8 bit. All'inizio del 1972 propose la realizzazione dell'8080 di cui formulò l'architettura. Dovette attendere sei mesi prima che il progetto venisse approvato. L'8008 e l'8080 furono i progenitori della famiglia di processori 8086 che ancora oggi domina il mercato dei personal computer.
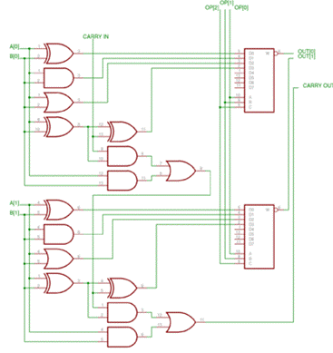
ALU (Arithmetic Logic Unit) è costituita da una rete logica in grado di eseguire operazioni aritmetiche e logiche come la somma, la sottrazione, AND, OR. L'ALU riceve ed invia dati agli altri blocchi tramite il BUS interno. Il risultato di ogni operazione viene poi trasferito nell'accumulatore (è uno dei registri più importanti della CPU in quanto nei processori è utilizzato per far eseguire all'ALU operazioni logiche o aritmetiche) o in un altro registro.

li input (ingressi) dell'ALU sono i dati da processare (gli operandi) e il codice che attiva l'unità
di controllo che gestisce l'ALU. L'output sono i risultati delle operazioni.
Spesso le ALU sono progettate per generare ingressi e uscite in funzione dei dati elaborati. Questi dati vengono usualmente raccolti in un registro di stato e sono utilizzati per indicare la presenza di resto, la divisione per zero, l'overflow etc.
Le prime ALU erano in grado di eseguire nativamente solo le operazioni più semplici (addizione, sottrazione e shifting di bit ecc.) e le operazioni logiche booleane (AND, OR, XOR e NOT). Le operazioni più complesse come le operazioni di moltiplicazioni o divisione venivano emulate utilizzato ripetutamente somme o sottrazioni. Con l'evolvere dell'elettronica si è riuscito a integrare nelle ALU anche le operazioni di divisione e moltiplicazione. Le ALU non sono in grado di svolgere tutte le operazioni supportate dai microprocessori moderni, infatti le operazioni in virgola mobile o le operazioni multimediali sono svolte da unità specializzate che non risiedono nell'ALU. Le ALU utilizzate dai primi processori erano unità composte da sottounità base.
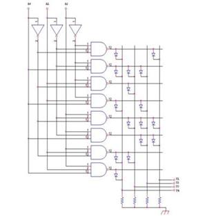
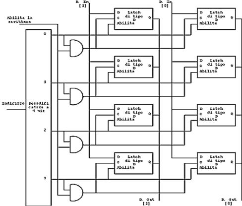
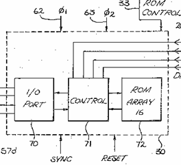
Le memorie ROM (Read Only Memory) sono programmate in sede di fabbricazione, una volta programmate non sono in alcun modo modificabili. Le memorie ROM sono caratterizzate da un basso costo.
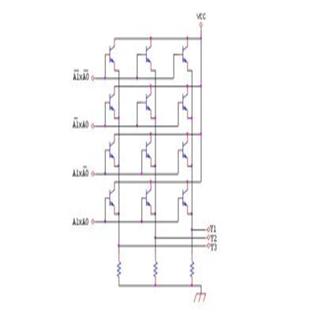
Tali memorie sono utilizzate per contenere piccoli programmi non modificabili.La struttura delle memorie ROM si può schematizzare come un decodificatore di indirizzo e un codificatore realizzato a matrice di diodi, transistor a giunzione bipolare (BJT) oppure transistori MOSFET.Il codificatore a matrice di diodi, BJT o MOSFET ha a sua volta la struttura di una griglia; ogni cella corrisponde ad una locazione di memoria in cui viene scritto il bit in fase di costruzione.Le linee di indirizzo vengono inviate al decodificatore di indirizzo: esso ha il ruolo di attivare la riga e la colonna corrispondente alla cella di memoria di cui si vuol leggere il dato.In alcune memorie non necessariamente occorrono due decodificatori; in quelle a bassa capacità basta un decodificatore di riga


I dati immagazzinati nella RAM non durano per sempre. Infatti allo spegnimento del computer essi vengono cancellati; si parla infatti di memoria volatile. La memoria viene misurata in byte; ogni byte è costituito da 8 bit; un bit può essere visto come un contenitore che contiene un '1' o uno '0' (il linguaggio del computer è infatti una successione di '0' ed '1', usa cioè un'alfabeto binario.

E' detta dinamica perchè il contenuto di ogni cella di memoria va rigenerato in continuazione. nelle memorie DRAM i dati vengono memorizzati in modo dinamico cioe' continuamente rinnovati da cicli di refresh, cioe' da continui passaggi di corrente elettrica al loro interno. Per capire il concetto si puo' pensare ai disegni effettuabili con una torcia elettrica su una parete di un muro all'interno di una stanza buia: muovendo la torcia e' possibile ad esempio disegnare un cerchio, ma occorre muovere continuamente la torcia in senso circolare per mantenere 'vivo' il cerchio'. Questo flusso continuo di luce e' assimilabile al ciclo di refresh che la corrente effettua nella RAM per mantenere 'vivi' i dati. Tra un accesso e l'altro in memoria, occorre effettuare un ciclo di refresh per mantenere vivi i dati. Durante il ciclo di refresh la memoria non e' accessibile. Pertanto si tratta di un ciclo morto. La memoria SRAM al contrario, e' piu' rapida della memoria DRAM, non necessita di cicli di refresh e consuma percio' meno corrente: sembrerebbe quindi migliore della memoria DRAM. La SRAM (Static random access memory) è simile alla dram nelle caratteristiche di funzionamento, ma è molto più veloce perchè non ha bisogno di rigenerare le celle di memoria visto che queste ultime sono formate da due transistor collegati in modo da tenere lo stato '1' o '0' finchè
l'alimentazione esterna viene mantenuta.

In questo tipo di RAM ogni cella è costituita da un flip-flop realizzato da due porte logiche.Consentono di mantenere le informazioni per un tempo infinito, sono molto veloci, consumano poco e quindi dissipano poco calore. La necessità di usare molti componenti, però, le rende molto costose e difficili da impacchettare.Sono solitamente usate per le memorie cache, dove elevate velocità e ridotti consumi sono caratteristiche fondamentali. l'introduzione di una memoria cache é proprio quello di sfruttare le diverse caratteristiche tecnologiche e di costo dei dispositivi di memoria, abbinandole nel modo economicamente più conveniente in modo da ottenere in media il minor tempo di accesso possibile ai dati. Il nome deriva da un termine francese (per una volta non dall'inglese ) che significa 'nascosta'. Infatti non si vuole che questa ottimizzazione implichi un maggior onere per il programmatore, ma si pretende addirittura che sia il sistema stesso ad 'indovinare' quali dati é meglio inserire nella piccola memoria veloce e quali invece possono essere lasciati nella grande memoria meno veloce senza grosso impatto sulle prestazioni.


I programmi a livello L2 vengono quindi
organizzati sempre nel solito modo, pensando di accedere ad una unica memoria
RAM omogenea. Durante l'esecuzione del programma il sistema di controllo della
cache 'decide autonomamente' di copiare parte dei dati usati più
frequentemente dal programma nella memoria cache per ridurne il tempo di
accesso. Questo implica che il cache controller sia interposto, tra

MICROPROCESSOR
Microprocessor is a device that integrates the functions of the central processing unit (CPU) of a computer on to one semiconductor chip or integrated circuit. In essence, the microprocessor contains the core elements of a computer system, its computation and control engine. Only a power supply, memory, peripheral interface, and peripherals (typically input/output and storage devices) need be added to build a complete computer system. See also Computer peripheral devices. A microprocessor consists of multiple internal function units. A basic design has an arithmetic logic unit (ALU ), a control unit, a memory interface, an interrupt or exception controller, and an internal cache. More sophisticated microprocessors might also contain extra units that assist in floating-point match calculations, program branching, or vector processing.
Microprocessors are classified by the semiconductor technology of their design (TTL, transistor-transistor logic; CMOS, complementary-metal-oxide semiconductor; or ECL, emitter-coupled logic), by the width of the data format they process, and by their instruction set.
TTL technology is most commonly used, while CMOS is favored for portable computers and other battery-powered devices because of its low power consumption. ECL is used where the need for its greater speed offsets the fact that it consumes the most power. Four-bit devices, while inexpensive, are good only for simple control applications; in general, the wider the data format, the faster and more expensive the device. CISC processors, which have 70 to several hundred instructions, are easier to program than RISC processors, but are slower and more expensive.

Il gesto destò grande
scalpore. Molti, a cominciare da Avery
Brundage, a quei tempi presidente del CIO lo considerarono fuori
luogo ritenendo che la politica dovesse rimanere estranea ai Giochi olimpici.
Molti lo deprecarono, ritenendo che avrebbe messo in cattiva luce l'intera
rappresentativa statunitense e recato danno alla nazione americana. Altri,
invece, espressero solidarietà ai due atleti, encomiando il loro coraggio.L'Atletica leggera è un insieme di
discipline sportive che possono essere sommariamente suddivise in: corse,
concorsi (lanci
e salti),
corsa su
strada, marcia e corsa
campestre. Gli eventi di atletica leggera vengono di solito
organizzati attorno a una pista ad anello della lunghezza di
![]() |
| Appunti su: |
|